Водосточный дренажный лоток и приямок в бетонном полу гаража
Друзья всем привет. Гараж будет использоваться не для постоянного хранения личного авто, а больше для ремонтов авто. Суть; в планах теплый пол в бетонном исполнении как основное отопление гаража, радиаторов не будет, t + 10 будет достаточно думаю, по центру пола пойдёт трап- слив, а вот как исполнить приямок для сбора воды только мысли, фото мыслей и примеров на фото.
ТЗ: теплый пол будет греться круглосуточно, гараж не будет использоваться под мойку, отвод воды хочу когда снег с машины таять за ночь будет. Я рассматриваю приямок без днища, но хз как повезёт, или может глухой из бетона, приямок должен быть совсем небольшой размером с ведро или бочку 200л.
Жду предложений друзья и желательно с фото и буду выбирать
Планирование работы
Лучше всего делать яму еще до постройки гаража. Место при этом вокруг свободно, есть доступ к площадке. Можно даже пригнать технику, чтобы выкопать котлован, это очень сильно облегчит и ускорит рабочий процесс. Нужно учесть несколько важных нюансов:
Ленточный фундамент своими руками: инструкция для начинающих с фотоЛенточный фундамент для дома – бетонная полоса определенного размера, уложенная в установленные углубления под…
- Уровень залегания грунтовых вод. Если они залегают близко к поверхности, это существенно усложнит процесс. Во-первых, придется делать очень надежную гидроизоляцию, чтобы не допустить подтопления. Во-вторых, выбрать период, когда грунтовые воды имеют минимальный уровень, тогда можно выкопать яму без риска обрушения стенок.
- Ширина смотровой ямы. По ГОСТ стандарт составляет 800-850 мм, это подходит для всех автомобилей, в том числе и компактных. Лучше не делать размер под конкретную модель, так как потом, когда будет другая, может оказаться, что у нее другие габариты, и она не может заехать на яму. А так можно будет чинить и легковую машину, и грузовик.
- Длина. Тут нет жестких требований, если исходить из нормативов, то она должна быть на метр длиннее машины, чтобы оставался вход. Минимальный размер равен метру, меньше делать уже нельзя, так как будет мало пространства. Можно сделать и намного длиннее машины, иногда на одной яме становятся два транспортных средства.
- Глубина. Удобнее всего работать, если над головой стоящего во весь рост человека остается еще 15 см пространства. Тогда не нужно очень высоко поднимать руки и нет риска постоянно ударяться головой о днище и выступающие элементы. Если яма делается под нескольких человек, нужно выбрать средний показатель роста.
После определения размера смотровой ямы для гаража нужно делать проект. Это несложно, зато существенно упрощает дальнейшую работу, так как на руках будут точные размеры:
Учитывать толщину используемых материалов. Если ширина ямы 800 мм, к ней добавляется толщина стенок и зазор под гидроизоляцию, если стенки снаружи будут дополнительно изолировать глиной. То же самое и с глубиной
Нужно учесть, что на дно насыпается подушка, по ней заливается стяжка, важно рассчитать толщину слоев и добавить все это к планируемому показателю.
Продумать конструкцию лестницы. Она должна быть простой и безопасной
Чаще всего используют деревянные или металлические конструкции. Можно залить лестницу из бетона, но она займет полметра пространства, что чаще всего недопустимо в ямах небольшого размера. Еще один вариант – деревянная конструкция с выдвижными ящиками в ступеньках, там можно хранить инструмент.
Сделать точный эскиз со всеми параметрами. Не забыть про толщину стяжки на полу в гараже, если она еще не залита. Гаражный пол толстый, и может оказаться, что яма слишком глубокая. Придется делать деревянные щиты из реек и класть на пол, чтобы поднять уровень и обеспечить удобство ремонтных работ.
Можно сделать ниши в стенках ямы. В них удобно класть инструмент при работе, но при этом стенки получаются заметно толще. Иногда под полом гаража делают полноценный погреб, но в этом случае конструкция больше похожа на подвал и под нее нужно копать котлован.
Важно!Делать чертеж нужно как можно подробнее. Тогда будет намного проще провести расчеты нужных для работы материалов.. Если нет опыта в строительстве, лучше посмотреть у соседа по гаражу или знакомого уже готовый вариант
Все будет видно наглядно, и многие моменты станут понятны. Заодно можно получить много полезных советов от того, кто уже делал такую работу. Есть много фото на специализированных ресурсах
Если нет опыта в строительстве, лучше посмотреть у соседа по гаражу или знакомого уже готовый вариант. Все будет видно наглядно, и многие моменты станут понятны. Заодно можно получить много полезных советов от того, кто уже делал такую работу. Есть много фото на специализированных ресурсах.
Оптимальные условия для строительства ниши
Есть масса вариантов постройки гаража. В России продают разные стройматериалы для его строительства. Но какие материалы лучше использовать, желая построить еще и смотровую яму? Для начала определяются с типом конструкции:
- отдельно стоящая и временная постройка;
- отдельно стоящая, но капитальная постройка;
- гараж, примыкающий к дому;
- временное решение, которое примыкает к дому.
Варианты конструкции, где присутствует прилагательное «временный», не подходят, так как гараж задумали со смотровой ямой. В плане материалов подойдут кирпичи, металлические листы, древесина, шлакобетон, железобетон.
Самый популярный материал – кирпич, который стоит недорого и не требует постоянного ремонта в отличие от древесины.
Когда разумно делать смотровую яму? Когда стены гаража еще не воздвигли. Если его габариты позволяют, сооружают нишу в любой день и час.
Что понадобится для обустройства
Для обустройства гаражного слива необходимо подготовить некоторые инструменты и материалы. Все их можно приобрести на строительном рынке.
Необходимые инструменты
Из инструментов понадобится комплект гаечных ключей, а также крепеж. Они необходимы для монтажа трубных изделий, которые будут отводить воду в канализацию либо септик.
Материалы
Если вы решили использовать септик для обустройства сливной системы, отдайте предпочтение емкостям из пластика. Они прочные, надежные, герметичные. Пластик располагает устойчивостью к коррозийному воздействию, не протекает, имеет малую массу. Это дает возможность монтировать его в одиночку, не прибегая к помощи других.
У пластикового септика имеются определенные недостатки. Так, он стоит дороже, чем емкость из бетона. Однако, если речь идет о гаражном помещении, экономить не стоит. Лучше сразу выбрать высококачественный и надежный материал.
Также вам понадобятся: геотекстиль, щебень, песок и, само собой, лопата для копки траншей.

Создание полезных приспособлений для гаража своими руками
Чтобы осуществлять ремонтные и сервисные работы, потребуется соорудить смотровую яму в гараже своими руками, размеры которой будут соответствовать габаритам авто, а также верстак для удобной работы, плюс снабдить помещение станками.
Основной набор инструментов и материалов для создания самодельного верстака для гаража включает:
- доски и деревянные бруски;
- крепежные элементы и стяжки;
- рубанок и другие инструменты для обработки дерева;
- лакирующий и столярный клеевые составы;
- наждачную бумагу и олифу.

Пример размещения в гараже полезных приспособлений: 1 — верстак с ручными станками, 2 — стеллажи и шкафы, 3 — стол для проведения различных ремонтных работ, 4 — полка для хранения шин, 5 — смотровая яма
Технология изготовления верстака в гараже своими руками: фото, чертежи
Верстак состоит из столешницы и подстолья, а также нескольких устройств зажимного типа. Высоту верстака в гараже следует подбирать с учетом собственного роста. Можно взять в качестве ориентира высоту кухонного стола в доме, за которым удобно работать. Обязательно составьте для создания верстака для гаража своими руками чертежи.
Обустройство гаража: как сделать верстак в помещении:
| Этап работы | Детали, размер в см | Тип крепления |
| Сборка столешницы | 20 досок (5х10х200) с пазами 2,5х2,5 в 5-ом и 16-ом элементе (шаг 25) | Клеевой состав металлические стяжки |
| Сушка | — | — |
| Изготовление ножек (4 шт.) | Брусок (10х10х80) с пазами под кронштейны на передних опорах | Кронштейны |
| Сборка основания подстолья | Рамы (2 шт.) из досок (5х10) | Соединение «в шип» на глубину 2,5 см и болты |
| Фиксация боковых и задних опорных стенок | Плиты ДСП (толщина 10 мм) | Шурупы |
| Фиксация столешницы к верхней раме | — | Болты |
Заключительная обработка предполагает пропитку готового изделия олифой и вскрытие лаком.
Рекомендации по созданию смотровой ямы в гараже своими руками
Не существует определенных размеров смотровой ямы в гараже. В качестве основы берутся габариты автомобиля.
Как сделать смотровую яму в гараж с оптимальными параметрами:
- Ширина подбирается с тем расчетом, чтобы внутри было достаточно места для работы. Размер ограничен расстоянием, на которое посажены колеса авто. Каждое колесо нуждается в небольшой площади для выполнения маневров. Средняя ширина ямы составляет 0,8 м.
- Длина ямы ограничивается длиной машины. К этому показателю следует добавить 1 м.
- Для расчета глубины используется рост владельца гаража. К нему прибавляется еще 10-15 см.
Как правильно сделать смотровую яму в гараж с использованием разных материалов:
| Материал | Толщина стенок, см |
| Керамический кирпич | 12-25 |
| Бетон | 15 |
| Строительные блоки | 20 |
Котлован вырывается с учетом оптимальной ширины ямы, материала, выбранного для стенок, а также толщины гидроизоляционного слоя. Этапы создания ямы:
- разметка;
- строительство котлована;
- обустройство котлована;
- строительство стен;
- прокладка освещения.
Для гидроизоляции стен применяется специализированная гидрофобная пропитка.

Схема обустройства смотровой ямы: 1 — стенки из пеноблоков, 2 — гидроизоляция, 3 — бутовая кладка. 4 — уголок размером 50х50х4 мм
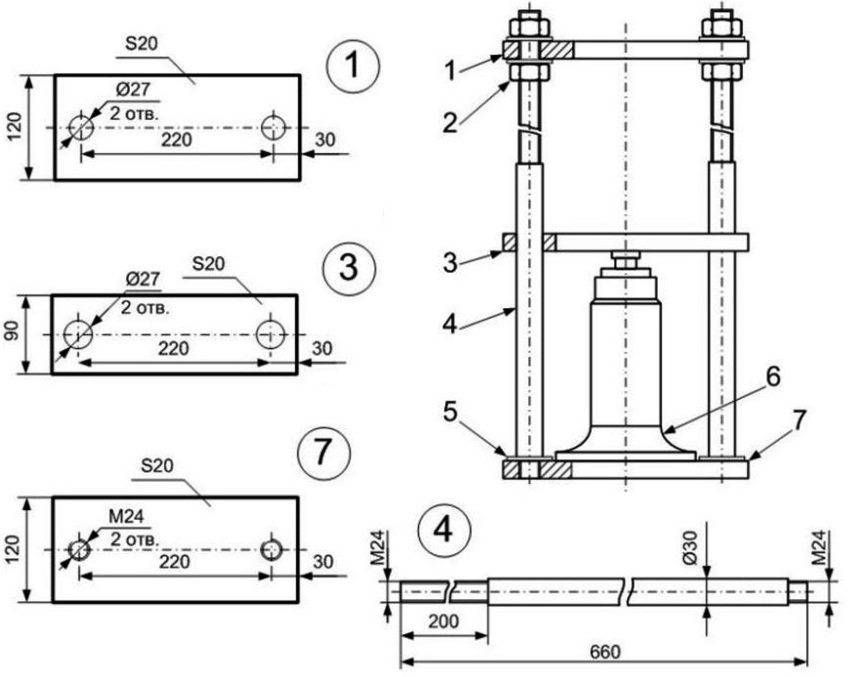
Изготовление пресса для гаража своими руками
Для создания пресса следует изготовить из 4 отрезков металлических труб каркас размером 178х80 см. Эти элементы соединяются методом сварки. В работе рекомендуется руководствоваться чертежами, заранее подобранными или составленными. После этого нужно установить:
- фиксатор;
- съемный упор;
- бутылочный домкрат (гидравлический).
Можно использовать для рассмотрения подробной технологии создания полезных приспособлений для гаража своими руками видео-материалы. Такие наглядные рекомендации помогают сориентироваться в размерах, освоить пошаговые инструкции и представить, какой внешний вид должна иметь готовая конструкция.

Схема изготовления гидравлического пресса: 1 — верхняя силовая платформа, 2 — гайки, 3 — нижняя платформа, 4 — шпильки диаметром 30 мм, 5 — нижняя резьба шпилек, 6 — гидравлический домкрат бутылочного типа; 7 — основание толщиной 20 мм
Обустройство гаража можно сделать собственными руками. На этом список полезных приспособлений не заканчивается. Его всегда можно дополнить любыми интересными идеями. Главное, чтобы гараж полностью соответствовал личным требованиям в отношении комфорта и удобства.
https://youtube.com/watch?v=D1BKvgCBg8Q
Материалы изготовления систем слива воды с крыши
Для обустройства водосточной системы используются различные материалы, выбор которых напрямую влияет на стоимость конструкции и ее долговечность. Чтобы комплектующие могли хорошо выполнять возложенные на них обязанности, им нужна достаточная влагостойкость, устойчивость к температурным перепадам и длительный срок службы.
В большинстве случаев слив воды с крыши обустраивается при помощи следующих материалов:
- Оцинкованная сталь. Сталь используется для слива воды чаще всего. В немалой степени высокая популярность обусловлена тем, что можно подбирать не только готовые элементы конструкции, но и изготавливать их самостоятельно, используя листовой металл. Оцинкованная сталь соответствует всем требованиям: отлично сопротивляется коррозии, спокойно выдерживает воздействие внешних факторов и спокойно может прослужить более 15 лет. Единственный недостаток стальных изделий – большой вес, усложняющий монтаж и создающий большие нагрузки на каркас крыши.
- Пластик. Полимерные элементы очень хорошо подходят для обустройства водосточной системы. Обладая большинством достоинств стальных деталей, пластик отличается меньшей стоимостью, гораздо меньшим весом и широкой цветовой гаммой, что позволяет подобрать нужную расцветку, подходящую к кровле. Установить пластиковый слив для крыши очень просто – монтаж не доставит проблем, а все необходимые элементы идут в комплекте. Достаточно часто выполняется установка пластикового водостока для крыши своими руками, так как процесс монтажа не вызывает сложностей. Самым большим недостатком полимерных изделий является слабая устойчивость к существенным температурным перепадам. Можно даже сделать водосток из пластиковых бутылок своими руками, который позволит сэкономить средства.
- Медь. Медные комплектующие для водостока отличаются в первую очередь высокой стоимостью, поэтому их применяют нечасто. Впрочем, высокая стоимость вполне оправдана – медь совершенно не поддается воздействию влаги и может без малейших нареканий проработать более сотни лет. Основным недостатком медных деталей является свойственный всем металлическим изделиям большой вес, поэтому стропильный каркас и обрешетку придется усиливать.
При выборе материалов для обустройства водосточной системы нужно отталкиваться от кровельного покрытия. Фальцевую кровлю, а также крыши из металлочерепицы и профильного листа лучше всего оборудовать стальным сливом, имеющим пластиковое покрытие. В случае с мягкими рулонными покрытиями актуальными будут пластиковые трубы для слива воды с крыши, а для медного покрытия подойдут медные же комплектующие для водостока.
Самодельная домашняя мойка для автомобиля
Несколько советов по мойке автомобиля:
• Мойте автомобиль как можно почаще, в эталоне — каждую неделю.
• Не мойте и не обрабатывайте автомобиль под прямыми солнечными лучами. На нагретой поверхности препараты очень стремительно высыхают — в конечном итоге возникают разводы.
• Не сберегайте воду. Обильное обливание смывает рыхлую грязь и песок. Если тереть по ним губкой, можно поцарапать поверхность. Заключительное ополаскивание должно быть обильным, по другому могут показаться разводы.
• Мыть автомобиль лучше из шланга, регулируя напор струи. С огромным напором моют участки днища кузова, колесные арки и колеса.
• Инспектируйте щетку либо губку на присутствие остатков песка. Если у их остался песок, от подготовительной мойки, он может поцарапать покрытие.
• Не тяните шланг через кузов. Протянутый через окрашенную поверхность шланг может принести на нее песок и воздействовать на формирование царапин.
• Не используйте заместо особых автошампуней бытовые моющие средства, в особенности препараты для мытья посуды. Находящиеся в их брутальные химикаты для действенного растворения жира могут бросить пятна на лакокрасочном покрытие автомобиля и вызвать коррозию проникнув в микротрещины эмали.
• Для разных операций по уходу за автомобилем необходимо использовать отдельные средства и приспособления. К примеру, полотенца, на которые могли попасть составы, содержащие силикон, не должны употребляться для мытья стекол. И совсем неприемлемо протирать кузов тканью, которой наносились шлифовальные пасты либо другие абразивные составы.
• Не применяйте лишнего усилия — это может разрушить лакокрасочное покрытие.
• Для мытья нового автомобиля шампунь можно использовать сразу: лакокрасочное покрытие уже довольно отвердело. Но, если Вы приобрели автомобиль прямо с сборочного потока, лучше воздержаться от мытья с шампунем и 1-ые 2-3 недели мыть кузов только теплой водой. Что касается новых ремонтных покрытий, шампунь можно использовать только через три месяца после их нанесения.
• Автошампунь содержит воск очищает автомобиль, в то же время создавая блестящий восковой слой защиты. Автошампунь на базе парафинов и растворителей с завышенным содержанием восков, обеспечивает сияние и восковую защиту кузова на несколько недель.
• Щетка для мойки машины должна быть мягкой, с взлохмаченными концами синтетической щетины. Для мытья автомобиля огромного размера (автобусов, грузовых автомобилей) комфортно использовать щетку с длинноватой либо раскладной телескопической ручкой.
• После мойки автомобиля воду с поверхности кузова нужно удалить, для того чтоб не дать каплям высохнуть и бросить пятна и разводы. Для этого употребляют маленькие полотенца из натуральных волокон, обычно, махровые, либо замшу, которая, в отличие от ткани, не оставляет на авто волокон и нитей.
Виды умывальников
Изготовить рукомойник для гаража можно из подручных материалов либо приобрести готовую конструкцию. Наиболее простым вариантом является самодельная конструкция из пластиковой емкости и проволоки. Закрепив на стене конструкцию, нужно будет периодически наливать в нее воду, а для слива будет использоваться обычное ведро. Самодельная разновидность должна удовлетворять следующим требованиям:
- простота установки при помощи подручных инструментов;
- использование бюджетных материалов;
- достаточный объем раковины для проведения гигиенических процедур;
- безопасность (отсутствие рядом с рукомойником электрооборудования и неизолированных контактов);
- наличие дополнительного отверстия для доливания воды без использования насоса;
- продуманная конструкция запорного механизма.
Статья в тему: Как сделать калитку в воротах гаража

Также можно приобрести готовую раковину и соединить ее с самодельной системой слива. Трубы для отведения воды допускается вывести за границы помещения на расстоянии нескольких метров от въезда. Там можно выкопать яму и прикрыть ее небольшой самодельной крышкой из дерева или металла. Данная разновидность рукомойника подходит для установки в гараже на загородном или дачном участке.
Более удобным в использовании является стандартная раковина, которая требует подключения к инженерным коммуникациям. Если в гараж подведены трубы для слива воды, остается купить подходящий по собственным пожеланиям умывальник и подключить его по стандартной схеме, так же, как и в жилых зданиях.

Система очистки

Можно откачать стоки из септика специальной машиной или пойти по иному пути:
Можно приобрести особые устройства, которые способны обеспечить стокам глубокую очистку. Они продаются на отечественном рынке, но стоят недешево. Для монтажа такого агрегата потребуется получить специальное разрешение.
Можно купить специальные химические реагенты, которые очищают септик от стоков
Однако, такие составы опасны для здоровья человека, работать с ними нужно крайне осторожно.
Можно установить систему очистки внутри подвала, расположенного под гаражным строением. Это удобное решение для некоторых ситуаций, но придется время от времени осуществлять дезинфекцию
Иначе пребывание внутри подвала для человека может быть небезопасным.
Правила настоящего мужского дизайна гаража
Автомобиль – не только средство для передвижения, но и надежный, верный друг. Необходимо следить за его состоянием и создать оптимальные условия для пребывания. Стоянка или место под подъездом не самый лучший вариант, который часто практикуется современными водителями. Здесь масса факторов, которые негативно сказываются на качестве его работы и сроке службы.
Гараж – отличное место для защиты автомобиля от непогоды. Это многофункциональное помещение. Можно использовать, как по основному назначению, так и для других целей: в качестве кладовки, мастерской. Многие мужчины делают гараж местом для посиделок. Атмосфера помещения благоприятна для встречи с друзьями, бесед и приятного времяпровождения.
Обустройство гаража – задача не из легких, требующая ответственного подхода. Есть масса тонкостей и хитростей, без знаний которых сложно будет получить комфортное и удобное помещение. Правильно выбранный интерьер гаража является залогом успеха. Он поможет придать помещению красивый вид, упорядочить предметы и инструменты.
Для экономии места можно поставить шкафы для инструментов
В гараже все должно лежать на своих местах, для этого нужно установить мебель
Сочетание красного, белого, черного в интерьере гаража выглядит очень красиво
Пошаговый процесс установки
Алгоритм установки сливной системы следующий:
- Вскрытие полов.
- Выкапывание траншеи, в которой будет размещаться труба. Глубина должна составлять 40-50 сантиметров. Уклон – 3 миллиметра на метр.
- Укладка подушки из щебня на дно траншеи. Рекомендуется применять галечный щебень фракцией от 0.5 до 2 сантиметров.
- Укладка геотекстильного полотна на щебневую подушку. В это полотно будет оборачиваться установленная труба.
- Монтаж трубы в траншею. Труба должна быть подведена по траншее к септику. Начало трубы (сливное отверстие) – в середине гаражного помещения.
- Засыпание трубы песком (траншея должна быть полностью засыпана).
Что понадобится для обустройства
Для обустройства гаражного слива необходимо подготовить некоторые инструменты и материалы. Все их можно приобрести на строительном рынке.
Необходимые инструменты
Из инструментов понадобится комплект гаечных ключей, а также крепеж. Они необходимы для монтажа трубных изделий, которые будут отводить воду в канализацию либо септик.
Материалы
Если вы решили использовать септик для обустройства сливной системы, отдайте предпочтение емкостям из пластика. Они прочные, надежные, герметичные. Пластик располагает устойчивостью к коррозийному воздействию, не протекает, имеет малую массу. Это дает возможность монтировать его в одиночку, не прибегая к помощи других.
У пластикового септика имеются определенные недостатки. Так, он стоит дороже, чем емкость из бетона. Однако, если речь идет о гаражном помещении, экономить не стоит. Лучше сразу выбрать высококачественный и надежный материал.
Также вам понадобятся: геотекстиль, щебень, песок и, само собой, лопата для копки траншей.

Как сделать умывальник: 3 полезные самоделки для разных ситуаций
Пожалуй, любой из нас знает, как сделать умывальник на даче из подручных приспособлений. Однако даже при изготовлении таких конструкций стоит воспользоваться советами опытных мастеров: тогда вместо примитивного рукомойника у нас получится достаточно продвинутая система, удобная в использовании и обладающая значительным ресурсом.
Ниже мы расскажем, какие материалы можно использовать для работы, а также приведем подробное описание алгоритмов сборки и монтажа.
Общая информация о переносных рукомойниках
Когда мы находимся на даче или выполняем «грязные» работы в гараже, очень важно заботиться о гигиене. Конечно, наличие водопровода серьезно упрощает все процедуры, но если его нет, стоит подумать о том, чтобы мы могли как минимум помыть руки и умыться
Для этих целей практически всегда используются рукомойники. На сегодняшний день в продаже можно найти относительно небольшое количество моделей таких изделий: с развитием водопроводной сети они становятся все менее популярными, и потому спрос на них предсказуемо падает. Да и качество большинства из них оставляет желать лучшего.
Что же касается самодельного рукомойника, то желательно, чтобы он соответствовал таким требованиям:
- Простота изготовления своими руками.
- Использование недорогих материалов (желательно подручных).
- Объем, достаточный для проведения гигиенических процедур.
- Удобство в использовании (обеспечивается продуманной конструкцией запорного механизма).
- Безопасность (не должен содержать токсичных компонентов, острых краев, неизолированных электрических цепей и т.д.).
Все модели, представленные ниже, в той или иной мере обладают перечисленными здесь качествами. Давайте же разберёмся, как их можно изготовить.
Модель 1. Из бутылки
Идеальным сырьем для производства рукомойника, который позволит нам без труда смыть грязь и пот на природе, является пластиковая бутылка. Более того, используя этот материал, мы вносим свою лепту в защиту окружающей среды: вторичное применение полимеров защищает почву и грунтовые воды от продуктов их разложения.
Делается конструкция предельно просто:
- Донце бутылки или другой емкости (до 5-8 л) обрезаем таким образом, чтобы получилась импровизированная крышка, держащаяся на полоске пластика.
- Прикрепляем конструкцию на дерево или на стену домика таким образом, чтобы на емкость попадали прямые солнечные лучи.
Преимуществом такого умывальника является его мобильность: в теплое время года его можно установить на участке, а на зиму – занести в дачный домик или сарай для инструментов.
Как можно обустроить на даче слив из раковины на кухне
Для организации на даче слива своими руками, к раковине на кухне надо подсоединить гофру и создать водяной клапан, изогнув гофру N-образно для того, чтобы в ней постоянно оставалась вода. Затем соединить гофру с пластиковой трубой диаметром 50 мм и вывести ее наружу за пределы домика. Кстати, раковину на кухне нужно снабдить решеткой, чтобы крупные пищевые отходы не попадали в сливную трубу. При обустройстве слива на магистрали между кухней на даче и дренажной емкостью требуется установить промежуточный сифон для того, чтобы все посторонние частицы, которые тяжелее воды, оседали на его дне, а не попадали в емкость. Сифон следует оборудовать окном ревизии для того, чтобы можно было открутить крышку и слить воду с твердыми частицами в ведро. Это уменьшит попадание в дренажную емкость органики и песка. В таком случае объема бочки хватит на более длительное время, бочка прослужит дольше, а в противном случае процессы гниения приведут к ее заиливанию.
При выполнении замеса для бетонирования нужно добавлять в раствор ложку любого стирального порошка на ведро воды. Такая добавка облегчит процесс замеса, улучшит качество раствора – повысит его влагостойкость, прочность, морозоустойчивость, убережет от растрескивания.


Потом необходимо взять металлическую бочку; если она закрыта с двух торцов, то с одной стороны надо с помощью зубила и молотка вырубить дно. Открытым торцом вниз установить бочку в яму на отсыпанную предварительно подушку из гравия и мелкого щебня. Подготовленная яма для слива воды на даче обязана быть больше, чем высота бочки. С другого конца бочки предстоит сделать одно отверстие под трубу, соединить бочку и трубу, выведенную из кухни, тройником с фланцами. Все сочленения: трубы с бочкой, а также с отводной трубой от раковины – необходимо загерметизировать.
Возможные варианты слива с раковины на даче, организованного своими руками, показаны на этих фото:


Можно для лучшего рассасывания сливных вод дополнительно вырыть по бокам бочки дренажные траншеи шириной с нее, примерно 1,5-2 м длиной. Траншеи надо завалить щебенкой, крупными валунами. Сверху траншеи и бочку засыпать слоем земли толщиной от 30 до 100 см вровень с поверхностью участка и закрыть ее дерном. Сверху можно посадить цветы, траву и пару березок – они любят воду. Как показывает практика, если сделать слив с раковины на даче подобным образом, конструкция прослужит примерно 7-10 лет.
Этапы строительства
Когда строится канализация в гараже своими руками, все работы следует производить в строгой очередности. Основные этапы:
Указаны только основные этапы, в зависимости от степени сложности системы могут понадобиться дополнительные работы.
Проектирование — один из основных этапов создания системы водоотведения. Нельзя браться за работу без расчетов и предварительной подготовки, поскольку это может обернуться штрафами и проблемами технического плана. Прежде всего, надо выбрать место для размещения накопительной емкости. после этого составляют рабочий чертеж системы. Когда строится канализация в гараже, схема позволяет предусмотреть массу мелочей, от которых зависит эффективная работа линии водоотведения. Чертеж должен быть выполнен в масштабе, с учетом уклона труб. обязательно надо предусмотреть гидрозатворы, исключить резкие повороты линии.
Для выполнения земляных работ используют строительную технику. Если гараж уже построен, придется копать грунт вручную. Это значительно сложнее, понадобится организовать временное хранение и вывоз лишнего грунта. Глубина гнезда под резервуар выбирается исходя из климатических условий в регионе. В любом случае, понадобится утепление емкости. многие владельцы используют греющий кабель, чтобы восстанавливать работу системы в морозы.
Монтаж емкости выполняется на подготовленное основание. Делается песчаная подушка. На которую устанавливают резервуар. Перед спуском в углубление рекомендуется его гидроизолировать и качественно утеплить.
Присоединение труб производится обычным способом. Участок входа в емкость тщательно изолируют и укрепляют. Укладку линии производят с заданным уклоном, после чего проверяют систему на наличие протечек. Для этого в трубу наливают воду и наблюдают за соединениями. Если все работает нормально, пазухи засыпают грунтом и переходят к укладке напольного покрытия гаража.
Схема конструкции
При обустройстве гаражного слива нужно учитывать следующие особенности выполнения данной процедуры:
- соответственно с правилами строительства, септик должен быть расположен на дистанции более 5 метров от гаражного помещения. В противном случае неприятные запахи будут попадать в гараж;
- типовая подводка внутренней канализационной системы располагает гидравлическими затворами, которые не дают запахам из канализации попадать в гараж;
- слив должен располагать радиусом хотя бы 5.5 сантиметра. Радиус труб – 2-2.5 сантиметра;
- трубные изделия могут быть как гладкими, так и гофрированными. Главное – чтобы они располагали устойчивостью к химическим средствам;
- предотвратить возникновение сырости, идущей от пола, и распространение запахов можно, монтировав вентиляционную систему.






































