Делаем откидные ворота своими руками
Для того чтобы самостоятельно сделанная автоматическая конструкция функционировала идеально, на первом этапе необходима подготовка инструментов:
- аппарата для сварки;
- болгарки;
- шуруповерта;
- молотка;
- уровня;
- рулетки;
- карандаша;
- дрели со сверлами с подходящим диаметром.
Самодельные автоматические ворота выполняются так:

- Создать на основе бруса из дерева или уголка из металла коробку в проеме, на которую приходится большая часть нагрузки общей системы механизма. Элементы соединяются в форме буквы «П». Деревянный материал скрепляется саморезами, помещаясь в приготовленные заранее закладные из дерева. Уголки крепятся анкерными болтами.
- Сконструировать раму для створки. По чертежу нарезается профильная труба нужных размеров. При помощи угольника следует проверить прямые углы при установке. Перед сваркой стыков можно, при необходимости, внести изменения в изделие.
- Обработать подготовленный материал болгаркой.
- Покрыть раму грунтовкой, окрасить алкидной эмалью, двумя слоями.
- Приварить на торцы верхних углов ролики с кронштейнами.
- Прикрутить профильный лист к раме при помощи саморезов.
- Затем следует установка направляющих для механизма. Предварительно нужно проверить прямые углы.
- Установить на время створку в проем, чтобы отметить место крепления автоматики. После снятия створки прикрепить рычаги к торцам.
- Прикрепить пружины и урегулировать их функциональность.
- Приклеить резиновый уплотнитель с целью герметизации зазоров.
- Поставить дверной замок.
После изготовления всех элементов ворота можно утеплить с помощью минераловатных и пенополистирольных плит. Конструкция готова к эксплуатации.
Популярные марки секционных ворот
Несмотря на широкий модельный ряд, продукция компании Doorhan имеет своих лидеров продаж, отличающихся среди прочих моделей высокими техническими характеристиками. Среди них выделяются:
- Yett 01;
- Yett 02;
- RSD 02;
- Alutech;
- Hormann;
- Absolute.
Yett 01
Комплект секционных ворот, предназначенных для установки в гаражи с небольшим проемом, у которых притолока обладает ограниченными габаритами. Особенности конструкции:
- Для размещения требуется расстояние всего в 14 сантиметров между верхним просветом ворот и потолком. Размер указан с учетом оборудования ворот приводом. Без него рабочим считается просвет в 9 сантиметров.
- Рассчитаны на относительно малый рабочий ресурс – 15 000 циклов.
Yett 02
Прямая противоположность Yett 01. Их конструкция разрабатывалась конструкторами компании Дорхан для монтажа в широкие гаражные проемы, которые используются интенсивнее обычного. Рабочий ресурс составляет 25 тысяч циклов. Выпускаются с двумя разновидностями подъема:
- низкий;
- стандартный.
RSD 02
Еще одна модель от компании Дорхан, которая обладает следующими характеристиками:
- максимальная ширина проема – до 6 метров;
- максимальная высота проема – до 3 метров;
- каркас изготовлен из оцинкованной стали, благодаря чему конструкция становится прочнее, и взломать ее сложнее обычного;
- для эксплуатации не требуется организация свободного места перед гаражом. Вся конструкция компактно умещается внутри помещения.
Alutech
Крупная компания, занимающаяся производством и сбытом секционных ворот, а также роллетных систем. Продукция Alutech широко известна в России, Белоруссии и многих странах Европы. Секционные ворота от Alutech адаптированы для использования в нашем климате, а их качество не уступает другим зарубежным конкурентам.
Hormann
Немецкий производитель, продукция которого выделяется следующими показателями:
- высокая теплоизоляция;
- дополнительная защита от несанкционированного проникновения;
- основание направляющих выполнено из пластика, что исключает образование ржавчины и порчу механизма;
- автоматические приводы оборудованы современными системами дистанционного управления.
Важно! На ворота дается беспрецедентная гарантия в 10 лет и еще 5 лет гарантии на системы автоматического открытия/закрытия
Absolute
Компания по установке секционных ворот, работающая с Alutech и Hormann. Своего производства в данном сегменте у них нет, и они выступают лишь в роли монтажников уже произведенного другими фирмами оборудования.
Небольшое отступление
Иногда может потребоваться уплотнение стыков подъёмных ворот. Для этих целей используется специальная эластичная пена, внутри которой образуется минимум пузырьков. Она наносится на угол получившегося косяка, а край самих створок проклеивается скотчем, после чего ворота закрываются. После высыхания пены излишки нужно будет удалить.
Готовый шов после удаления излишков ФОТО: atvarmor.ru
Для подобной работы подойдёт не всякая монтажная пена. На примере ниже можно увидеть 2 варианта этого материала. Левый для уплотнения использовать не стоит – очень быстро рассыплется. А вот правый баллон как раз и является подходящим.
Правый баллон с эластичной пеной именно тот, который требуется для уплотнения ФОТО: atvarmor.ru
После высыхания пены нужно лишь толкнуть створки и, открыв их, удалить скотч.
Вот такой шов получается после уплотнения ФОТО: atvarmor.ru
Сборка секционных элементов
Перед самостоятельной установкой секционных панелей надо их собрать. Несмотря на то, что сборка очень простая, все равно лучше ознакомиться с рекомендациями по собиранию элементов панели.
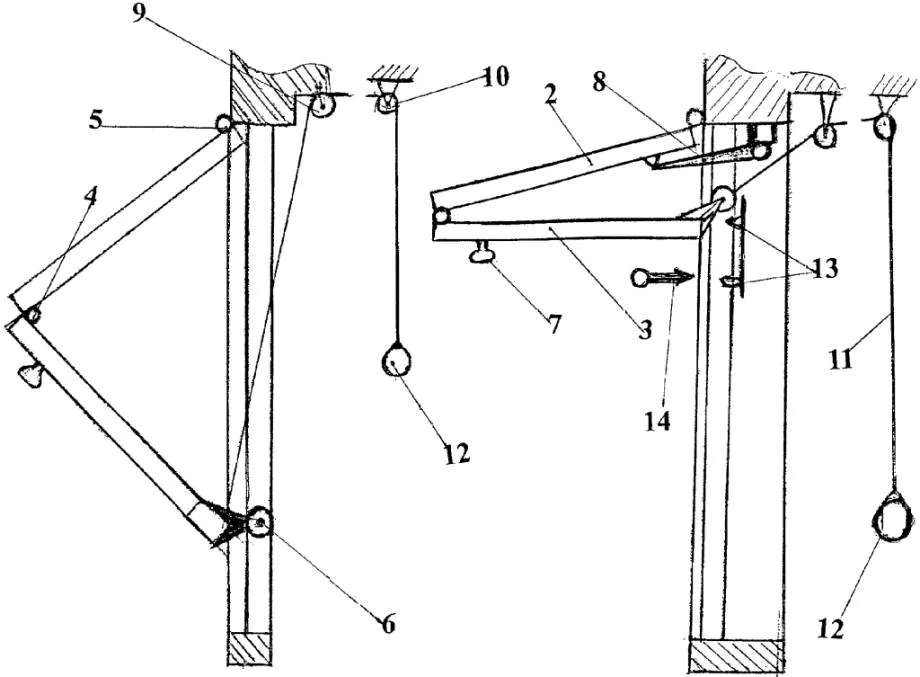
Все секционные элементы пронумерованы, и поэтому сборку начинают с нижнего компонента, который является первым. Для крепления ламелей между собой используют специальные петли, установленные в просверленные отверстия. После установки промежуточных крепежных петлей прикручиваются ролики и затягиваются крепежные винты. Затем монтируются держатели с нащельником и угловыми кронштейнами.
Правила и порядок монтажа воротной конструкции
Устанавливая секционные гаражные ворота, обращают внимание на несколько важных моментов:
- Соблюдение четкой вертикальности гаражного проема;
- Плотная фиксация всех элементов конструкции;
- Применение саморезов, дюбелей и анкеров с размерами, указанными в инструкции;
- Не применять монтажную пену или деревянные колышки для регулировки положения ворот.
Для подгонки можно использовать «разнокалиберные» металлические подкладки.
Сборка и установка секционных ворот
Порядок сборки и установки секционного портала реализуется таким образом. Схему ворот из инструкции переносят на раму проема. Для этого отмечают места крепления всех профилей конструкции.Крепежные детали применяют в зависимости от материала стен:
- Для стен, построенных из бетона, полнотелого кирпича или подобных строительных материалов используют распорные анкерные металлические или нейлоновые дюбеля с винтами;
- К стенам, возведённым из ячеистого бетона, из облегченного кирпича, из газосиликатных блоков, детали крепят удлиненными пластмассовыми дюбелями, в которые вворачивают винты;
- К металлическим конструкциям монтируемые ворота крепятся при помощи винтов саморезов.
Выставляют и фиксируют вертикаль проема. Крепят несущие детали, начиная с нижней ламели, производя работу строго по инструкции. Воротное полотно, начинают собирать с нижней секции. Верхнюю секцию полотна устанавливают, так чтобы она плотно прилегала к нащельнику. Добиваются этого регулировкой верхних кронштейнов. Закрепляют механизмы управления, ручки, засовы и замки, на секционном полотне.
Устанавливают балансирующие пружины. Регулируют натяжение подъемных тросов. Они должны быть достаточно натянуты. Производят монтаж и подсоединение электропривода автоматизированных секционных ворот. Устанавливают ограничитель перемещения полотна. Проверяют качество движения полотна, равномерность хода, отсутствие рывков или замедлений в каких-либо местах движения, достаточную быстроту движения, а также реагирование на посторонний предмет, поставленный в проёме.
Советы по установке секционных ворот
При сборке с сэндвич-панелями следует обращаться осторожно, чтобы не испортить их внешний вид. Потолочные конструкции должны быть изготовлены из плотных и прочных материалов, потому что вес всей воротной конструкции полностью поддерживается именно ими
Главное, это — строго выполнять пошаговую инструкцию из комплектации Дорхан.
Следует проверить название и качество материала уплотнителей ворот. Это должен быть добротный полимерный каучук и резина, стойкая к морозам. Качественный материал уплотнителей гарантирует хорошую герметизацию по всему периметру портала.
Конструктивные особенности
Секционные ворота для гаража своими руками собрать не очень сложно. Главное – разобраться в конструктивных особенностях воротной части и сопутствующих элементов. Принцип работы здесь такой:
- смещение полотна осуществляется по полозьям посредством колесиков;
- чтобы компенсировать «дверную» тяжесть, используется противовес с тросовым соединением к полотну;
- гибкость «двери» обеспечивается с помощью соединения отдельных секций обычными петлями.
Можно, конечно, дополнить конструкцию электротехническими элементами, устроить радиоуправление. В любом случае есть минимальный набор составных частей и он не меняется. Практически все модификации подъемных секционных ворот (своими руками собираются или специалистами) подразумевают запуск полотна под потолок, что в моем случае оказалось непрактичным решением. Из-за небольшой высоты радиус изогнутой пары полозьев получается слишком маленьким.
Тогда мне пришло в голову вынести «дверь» наружу. Это оказалось интересным вариантом еще и потому, что при въезде образовывается хороший козырек из двух секций.

Он отлично справляется с дождем, когда я в гараже и свет не сильно загораживает.
Типы подъемных ворот
Все представленные на сегодняшний день гаражные ворота подъёмного типа можно разделить на два вида:
- поворотные;
- секционные.
Установка подъемно-поворотных ворот представляется наиболее разумным решением в ситуации, когда:
- уровень размещения притолоки гаражного проема слишком занижен или же она вообще отсутствует;
- перед владельцем стоит задача обеспечить конструкции ворот повышенную надежность;
- у владельца возникло желание оборудовать свой гараж более современным в плане оформления вариантом ворот.
Разумно задуматься о монтаже секционных ворот тогда, когда в гараже имеется достаточное пространство, чтобы переводить конструкцию из вертикального положения в горизонтальное. По технологии монтажа они схожи с поворотными: в качестве места их размещения выступает внутренняя часть проема. Основу конструкции полотнища ворот образует несколько секций, которые сохраняют подвижность относительно друг друга. При использовании подобной конструкции доступ к гаражу открывается за счет перемещения секций вверх по направляющим, установленным на поверхности стен и потолка гаража.
Установка автоматики на секционные ворота.
Специалисты по монтажу знают свое дело, поэтому именно им нужно доверять установку автоматику. Тем не менее каждый пользователь должен знать основы для того, чтобы подготовить свои ворота к креплению устройства. Нужно убедиться, что ворота находятся в хорошем или отличном механическом состоянии:
- Неподвижны в любой позиции
- Легко перемещаются по всему механизму
- Правильно открываются и закрываются
Автоматику всегда устанавливают только тогда, когда ворота находятся в закрытом положении
Также важно использовать такие крепежные материалы, которые подходят для того типа стен, из которых состоит помещение
Если при установке вы используете своих специалистов, то необходимо проверить объемы поставки:
- Наличие всех комплектующих
- Сохранность и целостность элементов
- Наличие нужного крепежа
Важным шагом будет проверка помещения: необходимо проверить и найти соответствующий токоподвод, а также устройство отключения питания. Нужно понимать, что несмотря на безопасность самого механизма автоматики, надежность условий принимающий стороны выступает одним из критериев успешной установки. Мощный привод требует особых условий, которые стоит подготовить перед монтажом устройства, поэтому перед работами необходимо отделить привод от токоснабжения. В ином случае, появляется высокая вероятность опасности поражения током.
Тип подъема ворот
Возможно несколько вариантов подъема ворот. Каждый из них подходит для разных помещений, учитывая высоту потолка. В каждом индивидуальном случае тип должен подбираться, по предварительной оценке, мастера. Не имея нужных знаний не стоит брать изделие доверившись случаю, что может привести к нежелательным последствиям. Только правильно выбранная модель гарантирует долгий срок службы с сохранением всех эксплуатационных качеств.

- Стандартный подъем. Этот вид используется, если расстояние от потолка до верха ворот составляет 35 до 60 см. Такой вариант является самым дешевым. Можно использовать для конструкций высотой до 10 метров и шириной до 7.
- Низкий. Используются при высоте притолоки от 15 до 30 сантиметров. При использовании этого вида нижняя секция немного свисает в проем в открытом положении. Такие ворота могут сооружаться с использованием «барабана» в конструкции. Такой тип подъема требует установки дополнительных направляющих, что существенно увеличивает стоимость. Барабан может устанавливаться, как спереди, так и сзади. Во втором случае нужно использовать специальные крепления для вала. Данный вариант конструкции имеет одну особенность: механизм автоматического подъемника может быть установлен только в потолок.
- Высокий подъем. Такая конструкция используется при высоте притолоки от 60 см. до 5 м. Конструкция требует усиленных креплений, барабана и мощной системы автоматизации, которая может устанавливаться только на вертикальные направляющие. Конструкция отличается надежность и долговечностью, но стоимость получается достаточно высокой.
- Наклонный. Такой принцип используется при наклонном потолке, когда его высота увеличивается к задней стенке. Это самый дорогой вариант, но также подобная конструкция считается самой нестабильной. Используется чаще всего для ситуаций, когда другие варианты неприменимы.
- Вертикальный подъем. Это самый дорогой и надежный вариант, для которого характерна усиленная конструкция. Для использования такого варианта высота притолоки должна быть равна высоте проема + 70 сантиметров при размещении пружины сверху. Если пружина размещается снизу, нужно дополнительно от 40 см. высоты. Может использоваться в ситуациях, когда масса ворот не превышает 1000 кг, поскольку автоматизировать систему можно только при помощи осевого привода.
Оптимальный вид подъема определяется на этапе замеров. Поставщик ворот составляет план проема, на основании которого подбирается оптимальный вид конструкции.
Этап 5. Проверка
Главным показателем правильности монтажа является наличие или отсутствие просвета при опущенном полотне. В таком случае уплотнители будут исправно выполнять свои функции по герметизации и защите гаража от попадания атмосферных осадков. Стоит отметить, что снаружи уплотнители должны быть незаметными. Если их видно, то замеры были произведены неправильно.

Ворота
Далее осматривается нижняя панель. Зафиксированный снизу уплотнитель должен максимально плотно прилегать к полу. Если обнаружен зазор, конструкция проверяется по уровню. Для устранения дефекта не в уровне регулируется положение направляющих.
Последней проверяется балансировка (балансировочные пружины). Они могут располагаться по бокам профилей или же на торсионной балке – все зависит от площади полотна. Если поднять ворота на 1,5 метра, то пружины должны быть на месте, не опускаясь и не поднимаясь.





































